|

|
Tripico
has been heavily involved in all aspects of development of Injection
Molding Machinery:
Clamp, Injection and Robotics.
We have designed a number of Clamp Units
for HyPET machines for our client.
We
have designed various Injection Units for HyPET machines for our
client.
|
|
|
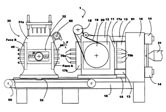
Tripico has developed Post
Mold Cooling System (PMC) for the large tonnage HyPET Index machine.
Simplified picture of the PMC shown on the left.
Specializing in the Clamp,
we have developed a design methodology and process for the clamp
bases that saved millions to our client.
|
|
|
Tripico has specialized in
design of Hydraulic manifolds.
We
have developed numerous design standards and methodologies for
our client.
Developed
a methodology for design of Injection mixing screws.
|
|
|
We
have designed:
Clamp bases,
Injection bases,
Gates,
Moving and Stationary platens,
Clamp Cylinders,
Clamp Hydraulic, Pneumatic
and Air services,
Parts Drop-off assembly etc…
|
|